0%

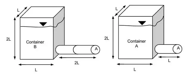
At the base of the right side panels of two tanks are exit tubes with the same cross-section A.
Which aperture will allow for more water to exit—the left (1) or the right (2)?

Note: Friction loss is minimal due to the outlet pipes' short length. The outlet tubes' different lengths are unimportant and intended to deceive you.

Correct! Wrong!

Explanation:
The dimensions and beginning water capacity of tanks 1 and 2 are the same.

The efflux (quantity of water leaving the tank at any given time) is affected by the size of the cross-section rather than the length of the output tube (of the opening).

Given that the apertures' cross sections are equal, the volume of water leaving the tubes must also be equal.

The different lengths of the output tubes are not important and are only there to confuse you. Even though there would have been more head loss in the longer pipe in real life, such friction-like forces should by default be disregarded in mechanical reasoning examinations.

What would the PLC program below corresponding Boolean expression be?

Correct! Wrong!

What are flexible couplings used for?

Correct! Wrong!

Explanation:
Flexible couplings (like universal joints or Oldham couplings) are designed to permit a certain amount of shaft misalignment (it may be an axial, lateral, or angular misalignment). On the other hand, rigid couplings are somewhat constrained because they need perfect alignment between the shafts.

When a precise, low flow is required, which style of valve should be used?

Correct! Wrong!

Explanation:
A needle valve is made out of a small port and an extended, narrow plunger. The valve can control the flow with extreme precision because of this arrangement. However, it can't withstand a lot of pressure.

A check valve is a valve that uses a ball, a piston, or a spring-loaded flapper to allow flow only in one direction.

A gate valve works by raising a gate out of the fluid's flow route. These planar gates are typically utilized with the unconstrained, high-volume flow.

Which wrench makes it simpler to remove a particular bolt? (If equal, go with C.)

Correct! Wrong!

Explanation:
Moment of force is defined as follows:

τ = r × F

In the case of the wrench length in this question, this entails multiplying the force by the position vector. As a result, you can exert less effort while maintaining the same moment on the bolt by using a longer wrench. That makes using wrench B simpler.

Intermittent welding has the following benefits:

Please select 2 correct answers

Correct! Wrong!

Explanation:
The fillet weld is done intermittently while using the intermittent welding joint welding technique.

In addition to being more cost-effective (as less energy and materials are consumed), it is also simpler to fix.

Because the welding is not continuous, if it fails, just a tiny portion of the material will be damaged before the stress is released, making the damage easier to fix. If the welding had been continuous, the entire junction would have been destroyed and would have needed to be rewelded.

Naturally, intermittent welding is not as powerful as full welding for the same reason.

Loading Questions...

The most frequent source of coolant leakage into engine cylinders is defective:

Correct! Wrong!

Explanation:
In internal combustion engines, a cylinder head gasket is a seal that is inserted between the piston cylinder head and the engine block. Fluids like coolant or engine oil will seep into the cylinders due to a bad gasket. In such circumstances, combustion is hampered and efficiency is decreased.